Pièce d`appui - élastomère

Nom du produit:

Pièce d`appui - élastomère

Ref:

DEST


TYPE DE MATÉRIEL

DURETÉ

NORMES

FORMULAIRE DE COMMANDE

90 Dureté A DIN 9835 DEST+ D

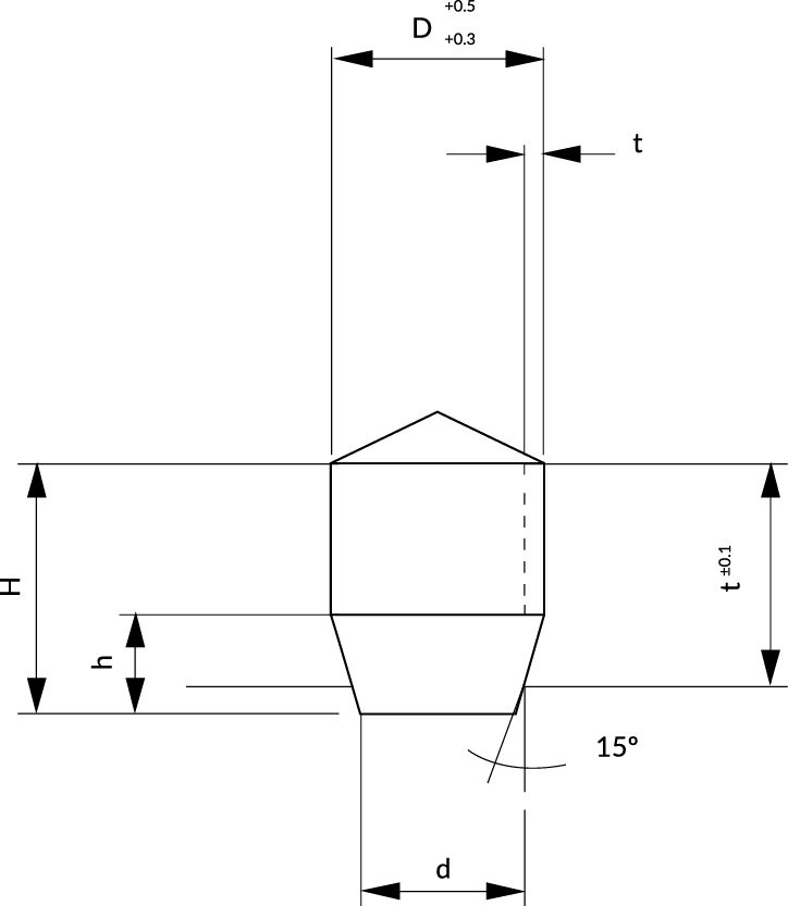
PLANS

CARACTÉRISTIQUES TECHNIQUES

CARACTÉRISTIQUES TECHNIQUES 2

LES PLANS (AVEC LE GRADE)

TÉLÉCHARGEMENTS

INFORMATIONS


Les dernières consultations

BRCO

RETAINING CLAMP FOR PILLAR

CGA

LATERAL SWIVEL EYEBOLT

CGA

LATERAL SWIVEL EYEBOLT

CGN

SWIVEL EYEBOLT WITH RING

CGN

SWIVEL EYEBOLT WITH RING

CGN

SWIVEL EYEBOLT WITH RING

CIW

GUIDE PILLAR

CIWH

GUIDE PILLAR

CRT

GUIDE PILLAR

DESR

STRIPPED BAR

DESR

STRIPPED BAR

DEST

STRIPPED

DEST

STRIPPED

ELAG

GUIDE BOLT FOR ELASTOMER

ELAG

GUIDE BOLT FOR ELASTOMER

ELAH

HOLLOW BAR ELASTOMER

ELAH

HOLLOW BAR ELASTOMER

EMB

SPRING PLUNGER

EMB

SPRING PLUNGER

EMF

SPRING PLUNGER

EMF

SPRING PLUNGER

FASR

EXTENSION PLUG

GAVR

PLUG WITH VALVE

JTN

O-ring NBR

UEVC

CYLINDRICAL THREAD SOCKET WITH VALVE 45º