CENTERING UNIT

Name:

CENTERING UNIT

Ref:

UCE


MATERIALS

HARDNESS

STANDARD

HOW TO ORDER

54 ± 2 HRC UCE + D1

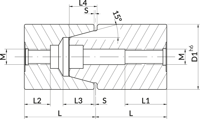
DRAWINGS

TECHNICAL DATA

TECHNICAL DATA 2

DRAWINGS 2

DOWNLOAD

INFORMATION


Last views

CAA

GUIDE BUSH

CBEC

GUIDE BUSH

CBEX

GUIDE BUSH

CBGL

GUIDE BUSH

CDDN

GUIDE PILLAR

UCE

CENTERING UNIT